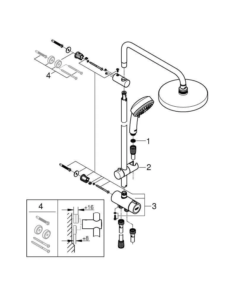
Цвет
хром
Материал
латунь
Монтаж
на стену
Страна бренда
Германия
Коллекция
Tempesta
Поверхность
глянцевая
Форма
круглая
Назначение
для ванны
Область применения
бытовая
Тип товара
Душевая стойка
Высота, мм
1040
Длина, мм
335
