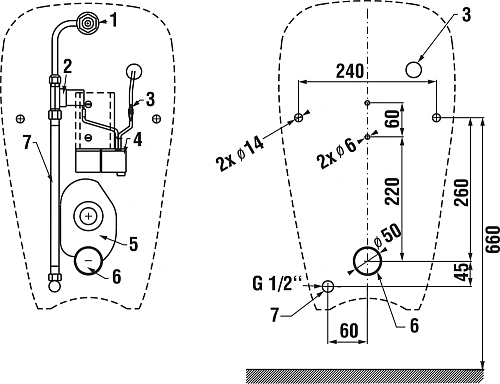
Писсуар GOLEM ANTIVANDAL с радарным датчиком автоматического смывания.
Включает в себя:
радарный датчик, который крепится к установочному каркасу - питание 24V,
соленоидный клапан,
трубка выпуска,
запорный клапан,
впускной клапан и установчный комплект.
*источник питания приобретается отдельно.
Размеры: 30,5 х 34 см












