Цвет
белый
Монтаж
на мебель
Страна бренда
Россия
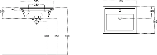
Цвет раковины
белый
Материал раковины
фаянс
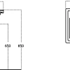
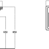
Форма
прямоугольная
Форма раковины
прямоугольная
Антибактериальное покрытие
нет
Дизайн
современный
Донный клапан в комплекте
нет
Отверстие под смеситель
1
Тип товара
Раковина
Угловая конструкция
нет




















