Цвет
хром
Монтаж
на раковину
Страна бренда
Германия
Поверхность
глянцевая
Вращение излива
нет
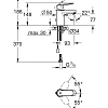
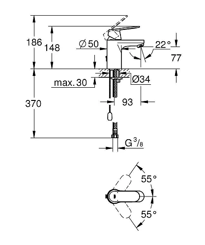
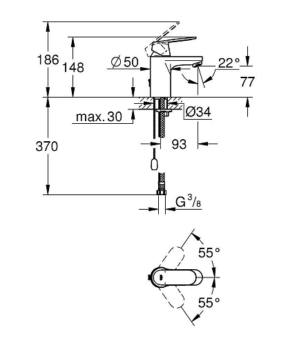
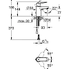
Высота излива, мм
76
Защита от обратного потока
нет
Количество отверстий для монтажа
1
Назначение
для раковины
Область применения
бытовая
Стандарт подводки
3/8"
Тип подводки
гибкая
Тип товара
Смеситель для раковины

























