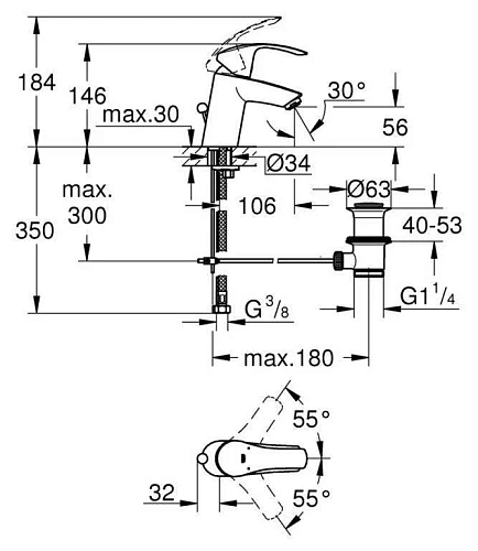
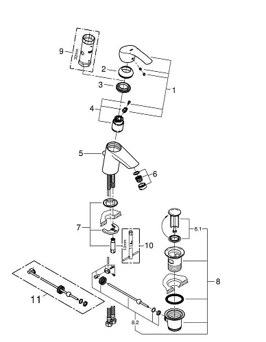
Благодаря технологии GROHE SilkMove, которая применяется в его конструкции, рычаг данного смесителя для ванной комнаты отличается чрезвычайно плавным ходом. Рычаг имеет оригинальную форму с плавным изгибом кверху, которая удачно вписывается в гармоничные пропорции смесителя и обеспечивает достаточно пространства для мытья рук – даже при стандартной высоте излива. Механизм GROHE EcoJoy обеспечивает экономию воды, достигающую 50%, чем способствует сбережению природных ресурсов и Ваших средств. Благодаря хромированному покрытию GROHE StarLight, поверхность смесителя отличается великолепным блеском, гладкостью и простотой в уходе, сохраняя свой первозданный сияющий вид даже после многих лет эксплуатации. Смеситель комплектуется сливным клапаном со штоковым подъемным механизмом. Система упрощенного монтажа позволит Вам установить данный смеситель за минимальное время.
































