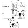
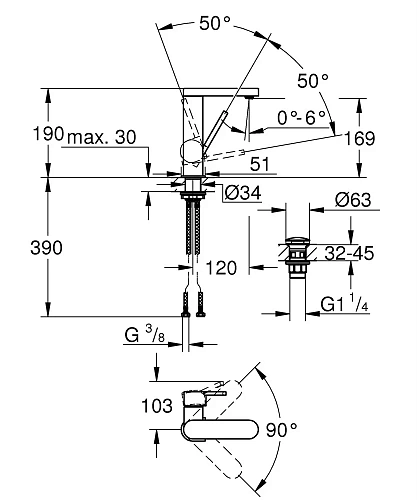
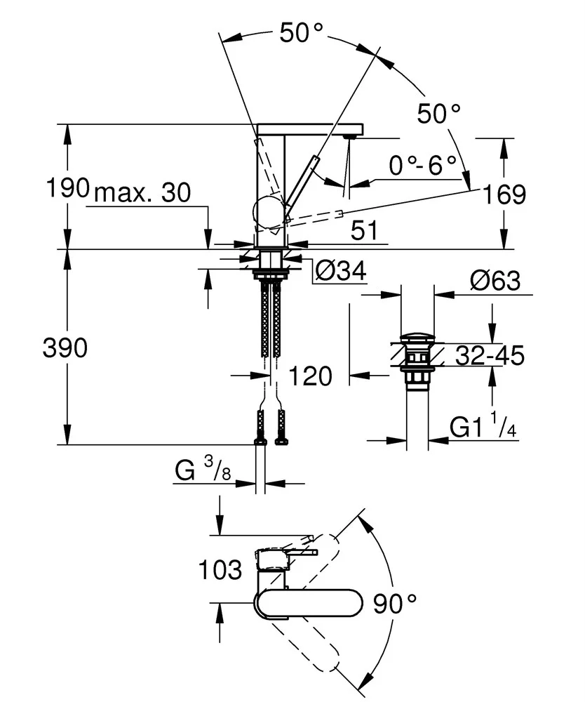
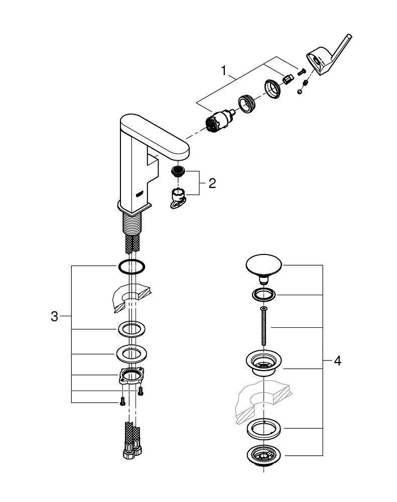
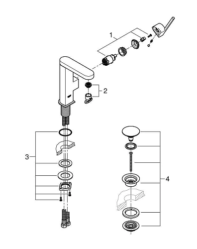
- монтаж на одно отверстие
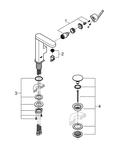
- металлический рычаг
- GROHE SilkMove керамический картридж 28 мм
- с ограничителем температуры
- GROHE StarLight хромированная поверхность
- GROHE EcoJoy SpeedClean аэратор с ограничением расхода воды 5,7 л/мин
- GROHE AquaGuide регулируемый аэратор
- система быстрого монтажа
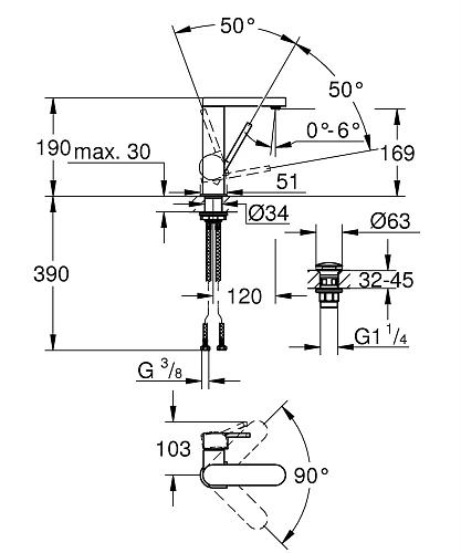
- поворотный излив с удобным возвратным механизмом, область поворота 90°
- смеситель с гладким корпусом с нажимным донным клапаном 1 1/4"
- гибкая подводка
































