Цвет
черный матовый
Материал
латунь
Монтаж
на раковину
Страна бренда
Германия
Гарантия, лет
5
Поверхность
матовая
Форма
круглая
Вес без упаковки, грамм
1530
Вид излива
традиционный
Вращение излива
нет
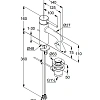
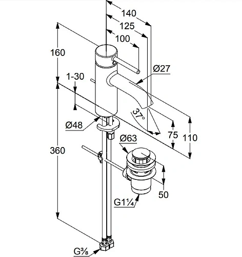
Высота излива, мм
75
Высота упаковки, мм
70
Дизайн
современный
Длина излива, мм
125
Длина/глубина упаковки, мм
425
Назначение
для раковины
Наличие излива
да
Область применения
бытовая
Стандарт подводки
3/8"
Термостат
нет
Тип товара
Смеситель для раковины
Управление
рычажное
Ширина упаковки, мм
175
Вес с упаковкой, грамм
1720
Ширина, мм
48
Высота, мм
160
Длина, мм
140
















