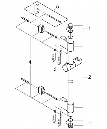
- С металлическими настенными креплениями
- GROHE QuickFix® (регулируемое расстояние между настенными
- Креплениями штанги позволяет использовать для монтажа
- Уже имеющиеся отверстия в стене)
- GROHE StarLight® хромированная поверхность

Пока нет отзывов.
Пока нет вопросов.
















